U7云是专业为中小企业和个人提供云服务器和独立服务器的主机商,有香港、美国、日本、韩国等境外机房,也有北京、深圳、成都等大陆机房,选择非常的灵活。
不仅如此,U7云提供了CDN高防服务,国内外机房都支持,特别适合跨境电商等海外需求用户,支持Linux和Windows操作系统,价格非常的便宜,线路优质网络稳定,受到广大用户好评。
U7云官网:点击进入U7云官网
U7云的香港VPS三网直连,提供了CN2 GIA优化线路,大陆地区访问网络稳定、延迟很低,现在他们家正在做活动,2核、2GB内存、无限流量配置只需要18元/月(需要注意这个价格是促销价,不会一直保持,先到先得),价格很便宜,而且这个配置也相当的不错,性价比很高。以下测评U7云的香港VPS网络状况我们是从大陆用户角度进行测试。
先看本地Ping平均延迟:
本地测试平均延迟在52ms左右,网络非常的稳定,基本都没有丢包的情况。
接着我看看全国各地电信、联通、移动三网Ping平均延迟情况,如下所示:
全国三网Ping平均延迟在46ms,其中电信网络延迟在41ms,联通网络延迟在40ms,移动网络延迟在58ms,三网延迟都是相当不错的。
上面的测试工具测试全球欧美亚三大洲近百个节点的网络稳定性情况,可以看到除了个别节点偶尔丢包外,不管是国内节点还是海外节点网络稳定性都是相当不错的,丢包情况很少。
接下来再看看路由线路情况,主要是看看电信、联通、移动三网的路由情况。
电信去程路由:
电信去程路由是从广州网口出去,然后直连香港机房,走的是59.43的CN2 GIA优化线路。
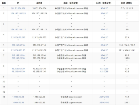
联通去程路由:
联通去程路由同样是经过广州网口到达香港机房,走的是联通AS4837线路。
移动去程路由:
移动去程路由则是从上海网口出去,然后直连香港机房,走的是移动CMI骨干网。
从测试线路上来看,三网去程路由都是直连香港机房的,所以延迟才会那么低。
我们同样测试U7云这款香港VPS的母机服务器性能和速度,其结果如下:
其母机采用的是E5-2690处理器 3.0GHz处理器磁盘I/O达到了324MB/秒,性能非常的强劲,上传和下载速度也跑满了10Mbps,当然具体的速度与你购买的配置套餐带宽相关。







